Samsung AR head mounted display patent on WIPO hints likely design and application | Tech Tips

Samsung announced it is working with Google and Qualcomm on augmented reality (AR) devices in 2023. Since then, the executives from these brands have shared their intent on a few occasions. But now, we have more insight into how one of these devices might look and work, thanks to freshly out patents.
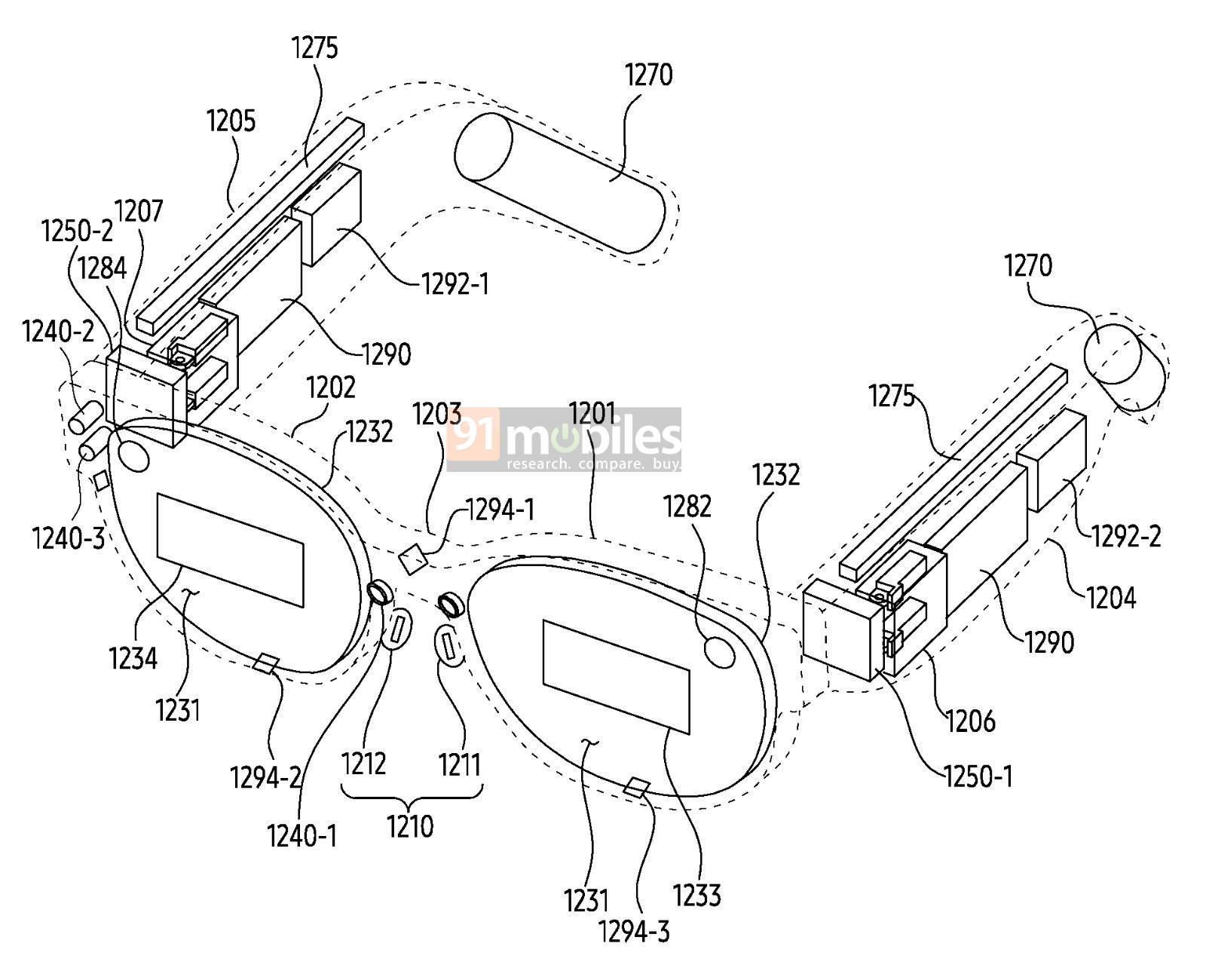
In September, 91mobiles reported on the patent for Samsung’s AR headset charging case. Now, we’ve found the design schematics and description of the headset, which is a head-mounted display (HMD). Here, take a look:
Samsung AR headset: what the patent tells us
Although the patent filing on WIPO says, “the electronic device may be AR glasses and/or a head-mounted device,” the images tell it is an HMD.
You could see real objects as well as the real world through these glasses/HMD.
#tdi_1 .td-doubleSlider-2 .td-item1 {
background: url( 0 0 no-repeat;
}
#tdi_1 .td-doubleSlider-2 .td-item2 {
background: url( 0 0 no-repeat;
}
#tdi_1 .td-doubleSlider-2 .td-item3 {
background: url( 0 0 no-repeat;
}
#tdi_1 .td-doubleSlider-2 .td-item4 {
background: url( 0 0 no-repeat;
}
The patent also mentions that the device uses reference points in the virtual space relative to the real-world space for navigation and operation. Even visibility could be controlled to offer the user a sense of depth between virtual objects and overall space.
You could interact with these virtual images by touching or selecting them. You would also get virtual visual elements like buttons, menus, text boxes, icons, images, and/or videos as part of this user interface. It will have an OS, like Apple’s headset has VisionOS and Meta’s headsets have Horizon OS.
The display type (LCD/OLED, flat/flexible) isn’t confirmed yet.
Underneath the visor, there are lenses for the user’s eyes, as well as a processor, memory (RAM, SSD ROM, cache), sensors (including camera), and the rest of the machinery to execute various tasks, visuals/foveated rendering, etc. The headset may be connected to other components through a wire or wirelessly. Apple Vision Pro, for instance, connects to a battery pack via a cord.
Speaking of which, the device could sport 5G, 6G, Bluetooth, NFC, LAN, and other connectivity options. For output, besides the display, there may be a speaker. For input, you may get a remote controller or gestures based on hand/head/eye movements or even speech. There may be visual cues for the user to know when something is within or outside their field of view (FoV).
The patent then talks about mapping of the virtual world in such a way that the shared realities don’t overlap.
Samsung AR headset: what’s the plan?
In an interview with CNBC, Qualcomm chief Cristiano Amon said they want these devices to be a companion to phones, which makes sense.
Meanwhile, Samsung Mobile’s head TM Roh said in an interview with CNET, “For the mid-to-longer term, I believe that many applications could be mixed reality only…A new experience, a new [user interface] or even new [app] stores…I believe that they can be created out of mixed reality itself, meaning that they could be specifically for mixed reality not in connection with the smartphone.”
The post Samsung AR head mounted display patent on WIPO hints likely design and application first appeared on 91mobiles.com.












