Samsung working on AI-based weather-changing wallpaper feature, suggests new patent | Tech Tips

Samsung looks to have some very unique ideas up its sleeves, going by the recent patent findings. Recently, we have come across a smart glass patent, where the speaker is protected from electromagnetic interference to reduce noise. Then there’s the foldable gaming handheld device and a tablet with extended display. Now, the company has received yet another patent approval for a background that changes based on time and weather of the day.
Samsung background changing wallpaper
- The patent listing, as spotted by 91mobiles, was filed at the ‘United States Patent Application Publication’.
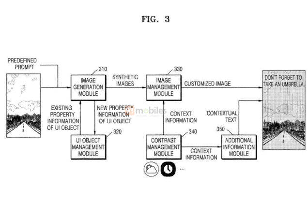
- This shows the background in the wallpaper changes automatically based on the time of the day (dawn/morning/afternoon/evening/night).
- It can also detect weather and change the background to sunny, foggy, cloudy, rainy, or snowy. One of the patent images shows the feature will push out an alert like ‘carry an umbrella’ if it detects rain.
- There’s also a patent image that shows seasonal variations as well.
#tdi_1 .td-doubleSlider-2 .td-item1 {
background: url( 0 0 no-repeat;
}
#tdi_1 .td-doubleSlider-2 .td-item2 {
background: url( 0 0 no-repeat;
}
#tdi_1 .td-doubleSlider-2 .td-item3 {
background: url( 0 0 no-repeat;
}
#tdi_1 .td-doubleSlider-2 .td-item4 {
background: url( 0 0 no-repeat;
}
- Samsung will rely on Generative AI (with a pre-defined prompt), which will read the image/background identify the areas (of the background) where time/weather changes can be applicable, generate a modified image with the changes to the original and apply the new background screen.
- This means all the work will be done in the background and the changes will be applied automatically whenever applicable.
- We had a similar ‘Photo Ambient Wallpaper’ feature earlier, which adds effects to the image like rain or night, but this new functionality seems to change the entire wallpaper with the current time and weather visuals.
- By matching the wallpaper theme with the time and weather conditions in real time, the feature/functionality makes the user interface seamless and quite intuitive. However, the AI model may read the photo data to make the changes.
Although this feature is just in the patent stage at the moment, there are chances of Samsung adopting this at some point, possibly in the next versions of One UI 7, considering the steady rise of new AI features on smartphones. We should know more details about the background changing wallpaper in the days to come.
The post Samsung working on AI-based weather-changing wallpaper feature, suggests new patent first appeared on 91mobiles.com.













