Samsung Vertical Rollable Phone Design Revealed in New Patent Document | Tech Tips
Samsung was recently granted a design patent for a rollable smartphone by the US Patent and Trademark Office (USPTO). The patent includes details of the handset’s design, and we can expect it to debut as a compact phone that extends vertically to form a larger screen. It could be equipped with a dual rear camera setup that moves with the upper portion of the smartphone. Other OEMs like Oppo and Motorola are also developing ‘sliding’ phones with extendable or rollable displays, while an earlier report suggested Samsung could launch a rollable phone in 2025.
Samsung Rollable Phone Could Feature Two Rear Cameras
A patent document (via DomoAI) granted to Samsung Electronics on April 15 reveals the design of a new rollable phone from Samsung. The company has been rumoured to be working on a handset with a rolling display since 2019, and the patent document gives us a look at what a vertical rollable smartphone from Samsung might look like.
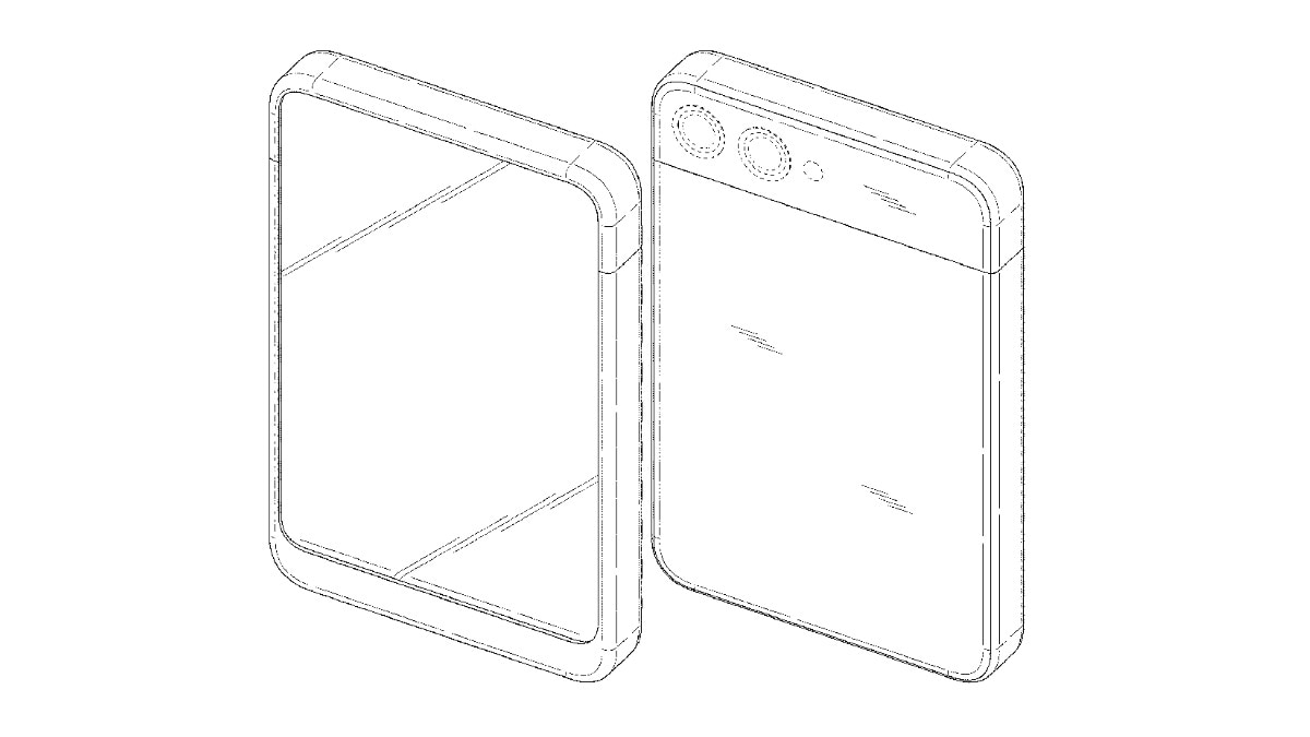
Fig 2 and Fig 3 in the design patent shows the front and back of the purported vertical rollable phone. The design shows that the handset might be quite compact while it is folded. We can see the part of the handset that is expected to extend at the top of the rear panel in figures 4 and 5, and it includes what appears to be two cameras and an LED flash.
Fig. 8 shows us the design from another angle. The phone appears to have slim bezels along the top, left, and right edges, while the chin is considerably large. It is likely to be thicker than Samsung’s other phones, due to the rollable mechanism.
The patent document doesn’t include any details about the smartphone’s specifications, but we can speculate that it will arrive as a premium smartphone, like the Galaxy Z Flip and Galaxy Z Fold series. These phones are usually equipped with the same high-end chip as the Galaxy S series lineup that is launched at the start of the year.
Samsung has already shown off a prototype of its rollable phone, which extends horizontally. While the company may have already figured out how to produce a phone with a rollable display, it remains to be seen whether a vertical rollable phone is commercially viable. As is the case with all patents, it remains to be seen whether Samsung launches a commercial version of the device seen in the document.






