Samsung patents energy-saving smart camera system for multi-camera phones | Tech Tips

Samsung Electronics has filed a patent for an intelligent camera mechanism that saves energy by efficiently managing camera operations that take more processing power. This should come in handy as smartphone camera setups are getting evermore advanced and complex. Here, we will learn about the camera function that Samsung is trying to solve with this new smart camera system. Let’s dive in.
Samsung camera patent explained
91mobiles has found the Samsung patent (publication number 20240380975) on WIPO (World Intellectual Property Organization).
- Problem: When the smartphone camera lenses move for autofocus and optical image stabilisation, they tend to create noise and some processing power is spent on suppressing this. Think of how noisy it would otherwise be if this weren’t the case.
Even electronic image stabilisation (which involves algorithmic cropping to fix shakes and jitters) requires the processor to be on. So, as smartphone cameras are getting more complex, the processing power spent on managing the various camera functions also increases. The processor has to stay on to keep sending signals to manage stabilization algorithms in real time.
The newly patented Samsung tech tries to manage this efficiently. Simply put, you don’t lose the camera features but could get more juice out of your phone batteries thanks to this.
So, that’s the why. On to the how:
#tdi_4 .td-doubleSlider-2 .td-item1 {
background: url( 0 0 no-repeat;
}
#tdi_4 .td-doubleSlider-2 .td-item2 {
background: url( 0 0 no-repeat;
}
#tdi_4 .td-doubleSlider-2 .td-item3 {
background: url( 0 0 no-repeat;
}
#tdi_4 .td-doubleSlider-2 .td-item4 {
background: url( 0 0 no-repeat;
}
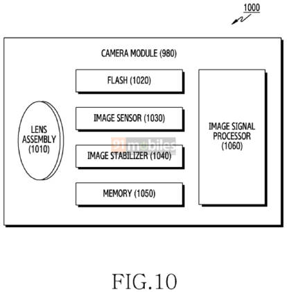
- Solution: Samsung has introduced a power-efficient sub-processor to the equation which handles the ancillary camera processes like controlling noise from OIS lens movements and algorithmic cropping in EIS, while the main processor can focus on powering the actual photo-capturing activity. Especially when the device is in sleep or low-power situations, the sub-processor can stay on and be less power-hungry. This allows the main processor to sleep, thus saving battery life.
- Advantages: So, what you could get is less noise in camera operation (OIS), less power consumption, and overall smooth camera functioning.
This is solely a patent for now and its real-world application is something we’ll have to gauge if, when and how it’s implemented.
The post Samsung patents energy-saving smart camera system for multi-camera phones first appeared on 91mobiles.com.













