Samsung Patent Application Describes Phone With Four Foldable Panels, Three Hinges | Tech Tips
Samsung could be working on a foldable phone equipped with four foldable panels, according to a patent application. The document reveals a design for a device with three hinges that connect four folding panels that extend to form a single, elongated display. When folded, the four panels form a considerably thick bar The South Korean technology conglomerate has yet to unveil a tri-fold smartphone to compete with the Huawei Mate XT Ultimate Design that was launched in select markets.
Samsung Patent Application Shows Device Could Feature Three Hinges
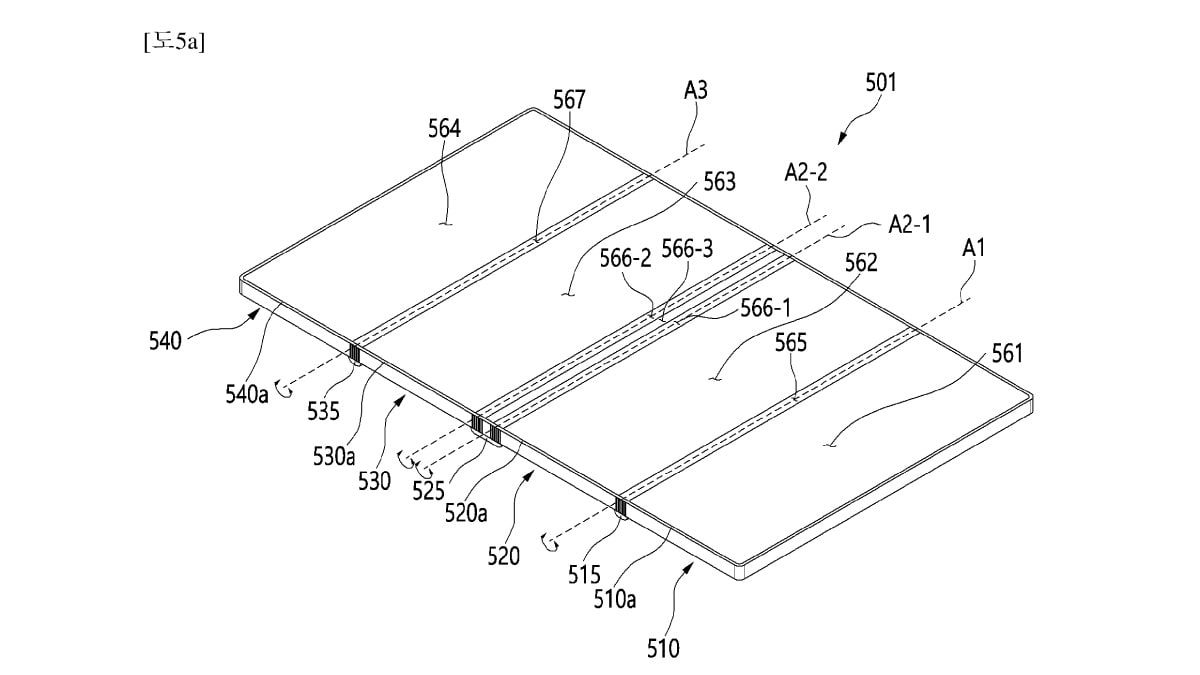
A patent application on the WIPO website (via SamMobile) indicates that Samsung is working on a foldable device with four foldable panels. These components are shown to be connected via three hinges. When unfolded, the smartphone appears to form a much larger display. The second and third panel are joined by a more complex hinge that allows the furthermost panels to fold inward.
Samsung’s foldable phone seen in folded and unfolded configurations (Tap to expand)
Photo Credit: WIPO/ Samsung
The document, which is titled ‘Electronic device including bendable display’, incudes drawings of the most advanced foldable design from Samsung we’ve seen so far. The company has shown off several prototypes of foldable phones with three folding panels, and even a “rollable” display, but the device described in this document could unfold to form a much larger panel, offering more screen real estate.
While the two inner panels appear to fold toward together in Fig. 5b, the next drawing (Fig. 5c) shows the outermost panels fold on top of the inner ones using two hinges (535 and 515). Once the device is in this partially folded state, a user can fold it once again, along the middle hinge (525).
As a result, we see a considerably thick but compact foldable phone in Fig 5d, which can be fully unfolded to form the handset seen in Fig 5a. We can also see another view of the device when it is fully folded in Fig 5e.
More drawings of the foldable seen in the patent document (tap to expand)
Photo Credit: WIPO/ Samsung
Earlier this week, another Samsung patent application revealed the company could be working on a foldable device that can be folded both inwards and outwards — the company previously showed off a prototype of the handset in 2023. The company has also been spotted working on a tri-fold phone with two hinges and S Pen support.
It is unclear whether Samsung plans to turn the foldable device with four panels described in the patent application into a commercial device. The company typically showcases some of its latest display prototypes that aren’t ready to be launched as consumer devices, and we might see a preview of the purported foldable device in the future.






